


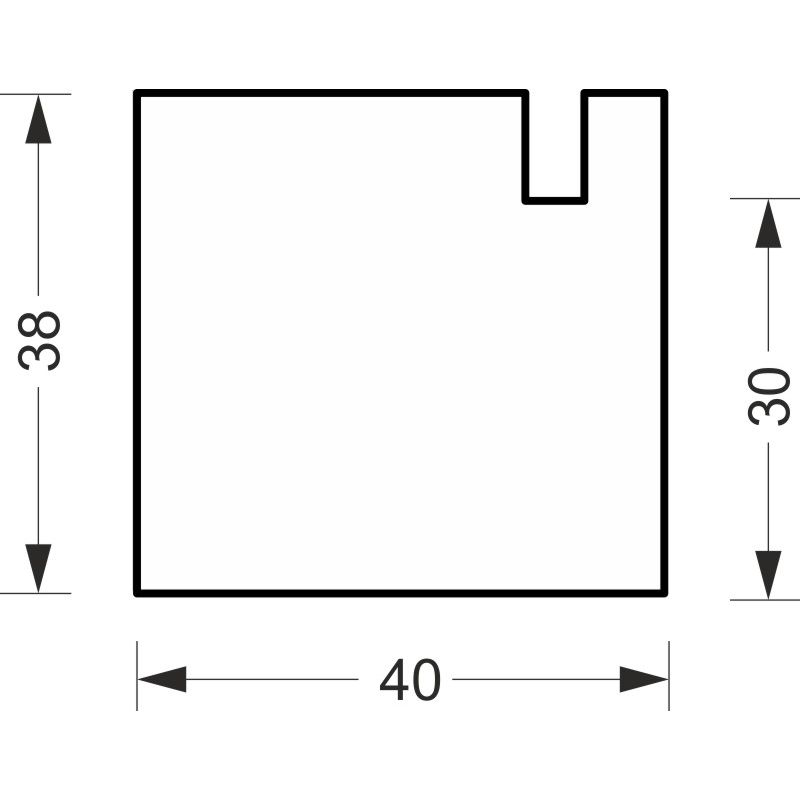
greenteQ spojni izolacijski profil za prozorsku dasku, visoka izolacija 0,95 Uvrijednost, 2350 x 40 x 30 mm, pogodan za Rehau Brillant 70greenteQ spojni izolacijski profil za prozorsku dasku, visoka izolacija 0,95 Uvrijednost, …
Broj artikla:2172760134
EACH
Prodajna jedinica: 10